ATUADOR PNEUMÁTICO / MOLA SIMPLES OU DUPLO EFEITO
PARA VÁLVULA BORBOLETA DE Ø25 (1") A Ø76 (3")
- TEMPO DE DESLIGAMENTO: 1,5 SEGUNDOS
- PESO: 3,7KG
- POTÊNCIA: 4M/KG A 5 BAR DE AR COMPRIMIDO.
- Torque máximo 20N/m
- CONSUMO: 0,266 LITROS A 5 BAR
- MATERIAL: AÇO INOXIDÁVEL AISI 304.
Designação
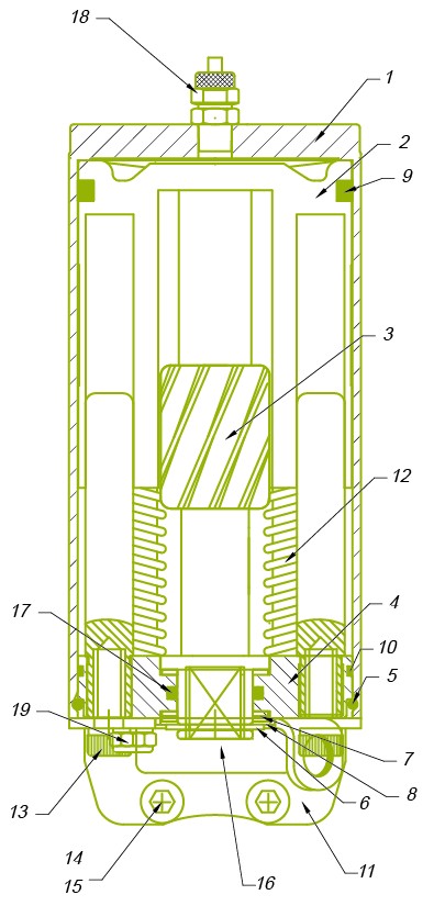
| NÃO | DESIGNAÇÃO | QTD | MATERIAL |
|---|---|---|---|
| 1 | Cilindro de inox | 1 | SS304 |
| 2 | Pistão | 1 | POM |
| 3 | Peça de acoplamento do eixo | 1 | SS304 |
| 4 | Extremidade inferior do cilindro | 1 | SS304 |
| 5 | Mola de montagem tipo C | 1 | Aço inoxidável |
| 6 | Anel de retenção | 1 | SS304 |
| 7 | Selo de contato de Teflon | TELFON | |
| 8 | Anel SS304 | 1 | SS304 |
| 9 | Anel X do pistão | 1 | NBR |
| 10 | Anel de vedação do cilindro inferior | 1 | NBR |
| 11 | Suporte de montagem | 1 | SS304 |
| 12 | Mola do compressor | 6 | Aço inoxidável |
| 13 | Parafuso de aço inoxidável M8*16 | 2 | Aço inoxidável |
| 14 | Parafuso de aço inoxidável M6*30 | 2 | Aço inoxidável |
| 15 | Porca de nylon de aço inoxidável M6 | 2 | Aço inoxidável |
| 16 | Anel de posicionamento de plástico | 1 | Plástico |
| 17 | Anel de vedação do eixo do pistão | 1 | NBR |
| 18 | Conexão de ar | 1 | Cu |
| 19 | Filtro de saída de ar | 1 | Cu |
Data do Atuador
- S1/S3: Tempo de desligamento: 1,5 segundo / Peso: S1: 3,7KGS / S3: 4,2KGS.
- S104: Tempo de desligamento: 1,7 segundo / Peso: 7,1KGS.
Data Técnica
- Pressão máxima do ar: 7bar(700kPa).
- Pressão mínima do ar, NC e NO: 5bar(500kPa)
- Faixa de temperatura: -25°C a +90°C.
- Consumo de ar (litros de ar livre) S1/S3 0.24*P(bar).
- Consumo de ar (litros de ar livre) S104 0.55*P(bar).
- Transferência de sinal: S1/S104 pode ser conectado com M12
interruptor de proximidade de parafuso (PNP ou NPN)
- Transferência de sinal: S3 pode ser conectado com M12
interruptor de proximidade do parafuso (PNP ou NPN) ou caixa de controle.
Materiais
- Corpo do atuador: Aço inoxidável AISI 304.
- Pistão: POM.
- Vedação: NBR.
Especificação
| Size | For butterfly valve | D | L |
|---|---|---|---|
| S1 | 1"-3" Dn25-76 | 85 | 205 |
| S3 | 1"-3" Dn25-76 | 85 | 274 |
| S104 | 4" Dn104 | 120 | 250 |
- Produtos Relacionados
-
-
Atuador S3 com Caixa de Controle + Válvula Borboleta
Atuador S3 com Caixa de Controle + Válvula Borboleta
Produtos em destaque
-
Hot
Componentes de Vácuo
Hot
Componentes de Vácuo
EFT fornece flanges não apenas nos padrões KF, ISO, mas também no padrão CF. Temos...
Leia Mais -
Hot
Válvula Sanitária
Hot
Válvula Sanitária
EFT pode oferecer uma variedade de válvulas sanitárias com grau alimentício e obter...
Leia Mais -
Hot
Acessórios Sanitários
Hot
Acessórios Sanitários
EFT possui uma fábrica de forjamento com o objetivo de construir uma imagem profissional...
Leia Mais -
Hot
Redutor BPE
Hot
Redutor BPE
EFT pode ajudar com questões gerais ou necessidades individuais. EFT oferece matéria-prima...
Leia Mais


