Materiais
Especificação
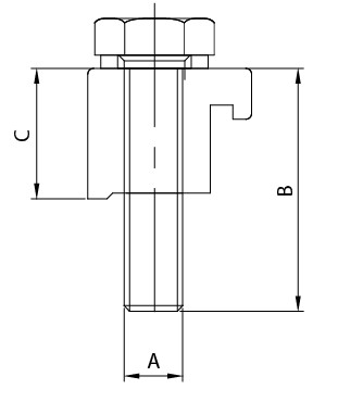
| Size | Material | A | B | C | Parts No. |
|---|---|---|---|---|---|
| ISO63-100 | 304S.S. | M8 | 35 | 23 | COS1-4000 |
| ISO160-250 | 304S.S. | M10 | 35 | 23 | COS2-A000 |
| ISO320-500 | 304S.S. | M12 | 50 | 30 | COS3-2A00 |
| ISO63-100 | Steel+Zn Plated | M8 | 35 | 23 | COS1-40ZN |
| ISO160-250 | Steel+Zn Plated | M10 | 35 | 23 | COS2-A0ZN |
| ISO320-500 | Steel+Zn Plated | M12 | 50 | 30 | COS3-2AZN |
CONEXÃO DE FLANGE ISO COM GRAMPOS

Características:
- A série de flanges ISO está de acordo com o Padrão de Operação de Normas Internacionais, que é compatível com o padrão de outros fabricantes.
- Montagem de Flange ISO:
- Tipo de Braçadeira ISO - compreende duas flanges ISO, um Anel Central com O-ring e uma braçadeira de parede dupla ou uma braçadeira de garras duplas.
-
Tipo de Parafuso ISO - compreende duas flanges ISO parafusadas, um Anel Central com O-ring, parafusos, arruelas e porcas.
Material e Tamanho
- Flanges, Discos, Conexões: Material Aço Inoxidável S.S.304
- Braçadeiras: Material Alumínio ou Aço Inoxidável 304
- Anel O: Material Viton
- Tamanhos: ISO63~ISO160
- Produtos Relacionados
Melhores Vendas
Produtos Quentes
Hot
Componentes de Vácuo
Hot
Componentes de Vácuo
EFT fornece flanges não apenas nos padrões KF, ISO, mas também na especificação...
Leia Mais
Hot
Válvula Sanitária
Hot
Válvula Sanitária
EFT pode oferecer uma variedade de válvulas sanitárias com grau alimentício e obter...
Leia Mais
Hot
Acessórios Sanitários
Hot
Acessórios Sanitários
EFT possui uma fábrica de forjamento com o objetivo de construir uma imagem profissional...
Leia Mais
Hot
Redutor BPE
Hot
Redutor BPE
EFT pode ajudar com questões gerais ou necessidades individuais. EFT oferece matéria-prima...
Leia Mais


