ตัวกระตุ้นลม / ตัวกระตุ้นสปริง แบบเดี่ยวหรือแบบคู่
สำหรับวาล์วผีเสื้อขนาด Ø25 (1") ถึง Ø76 (3")
- เวลาปิด : 1.5 วินาที
- น้ำหนัก : 3.7 กิโลกรัม
- พลังงาน : 4 เมตรต่อกิโลกรัม ที่ 5 บาร์ของลมอัด
- แรงบิดสูงสุด 20 นิวตันเมตร
- การใช้พลังงาน : 0.266 ลิตรที่ 5 บาร์
- วัสดุ : สแตนเลสเหล็ก AISI 304
- ฝา : พลาสติก
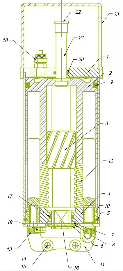
การกำหนดชื่อ
| ไม่ | ตำแหน่ง | จำนวน | วัสดุ | 
|---|---|---|---|
| 1 | กระบอก Inox | 1 | SS304 | 
| 2 | ลูกสูบ | 1 | POM | 
| 3 | ชิ้นเชื่อมแกน | 1 | SS304 | 
| 4 | ปลายกระบอกล่าง | 1 | SS304 | 
| 5 | โครงการติดตั้งสปริงชนิด C | 1 | สแตนเลส | 
| 6 | วงแหวนซิร์คลิป | 1 | SS304 | 
| 7 | ซีลติดต่อเทฟลอน | 3 | เทลฟอน | 
| 8 | วงแหวน SS304 | 1 | SS304 | 
| 9 | ซีลแหวนลูกสูบ | 1 | NBR | 
| 10 | วงแหวนซิลิโคนลูกถังล่าง | 1 | NBR | 
| 11 | โครงยึด | 1 | SS304 | 
| 12 | สปริงคอมเพรสเซอร์ | 6 | สแตนเลส | 
| 13 | สกรูสแตนเลส M8*16 | 2 | สแตนเลส | 
| 14 | สกรูสแตนเลส M6*30 | 2 | สแตนเลส | 
| 15 | น็อตไนลอนสแตนเลส M6 | 2 | สแตนเลส | 
| 16 | แหวนตำแหน่งพลาสติก | 1 | พลาสติก | 
| 17 | วงแหวนซิลิโคนแกนปืน | 1 | NBR | 
| 18 | การเชื่อมต่ออากาศ | 1 | Cu | 
| 19 | ฟิลเตอร์ลมออก | 1 | Cu | 
| 20 | วงแหวน O-RING ของลำกล้องปิสตัน | 1 | NBR | 
| 21 | ลำกล้องปิสตัน | 1 | SS304 | 
| 22 | ฝาครอบลำกล้อง | 1 | พลาสติก | 
| 23 | ฝาพลาสติก | 1 | พลาสติก | 
วันที่ตัวกระตุ้น
- S1/S3 : เวลาปิด : 1.5 วินาที / น้ำหนัก : S1: 3.7 กิโลกรัม / S3: 4.2 กิโลกรัม.
- S104 : เวลาปิด : 1.7 วินาที / น้ำหนัก : 7.1 กิโลกรัม.
วันที่ทางเทคนิค
- ความดันอากาศสูงสุด: 7 บาร์ (700 กิโลปาสคาล).
- ความดันอากาศต่ำสุด NC และ NO: 5 บาร์ (500 กิโลปาสคาล)
- ช่วงอุณหภูมิ: -25°C ถึง +90°C.
- การใช้งานอากาศ (ลิตรอากาศสะอาด) S1/S3 0.24*P(บาร์).
- การใช้งานอากาศ (ลิตรอากาศสะอาด) S104 0.55*P(บาร์).
- การถ่ายโอนสัญญาณ : S1/S104 สามารถเชื่อมต่อกับ M12
สวิตช์ใกล้ชิดแบบสกรู (PNP หรือ NPN) 
- การส่งสัญญาณ : S3 สามารถเชื่อมต่อกับ M12
สวิตช์ใกล้ชิดแบบขันสกรู (PNP หรือ NPN) หรือกล่องควบคุม. 
วัสดุ
- ตัวเครื่อง : สแตนเลสเหล็ก AISI 304
- ลูกบิด : POM
- ซีล : NBR
ข้อกำหนด
| Size | For butterfly valve | D | L | 
|---|---|---|---|
| S1 | 1"-3" Dn25-76 | 85 | 205 | 
| S3 | 1"-3" Dn25-76 | 85 | 274 | 
| S104 | 4" Dn104 | 120 | 250 | 
สินค้ายอดนิยม
- 
           Hot Hotส่วนประกอบสุภาพ Hot Hotส่วนประกอบสุภาพEFT ให้บริการฟลองจ์ไม่เพียงแค่มาตรฐาน... อ่านเพิ่มเติม
- 
           Hot Hotวาล์วสุขภัณฑ์ Hot Hotวาล์วสุขภัณฑ์EFT สามารถให้บริการวาล์วสุขภัณฑ์หลากหลายรูปแบบที่มีเกรดอาหารและได้รับใบรับรอง... อ่านเพิ่มเติม
- 
           Hot Hotอุปกรณ์สุขภัณฑ์ Hot Hotอุปกรณ์สุขภัณฑ์EFT เป็นเจ้าของโรงงานชุบเหล็กด้วยวัตถุประสงค์ในการสร้างภาพลักษณ์อาชีพและให้เฟอร์รูลคุณภาพสูงและบริการครบวงจร อ่านเพิ่มเติม
- 
           Hot Hotลดขนาด BPE Hot Hotลดขนาด BPEEFT สามารถช่วยแก้ไขปัญหาทั่วไปหรือความต้องการแบบเดี่ยว... อ่านเพิ่มเติม
 
 
               
                 
                 
              
                             
              
                             
              
                            

