材料
材料S.S.304、304L、316L、サイズは顧客のデザインと要件に合わせてカスタマイズできます。
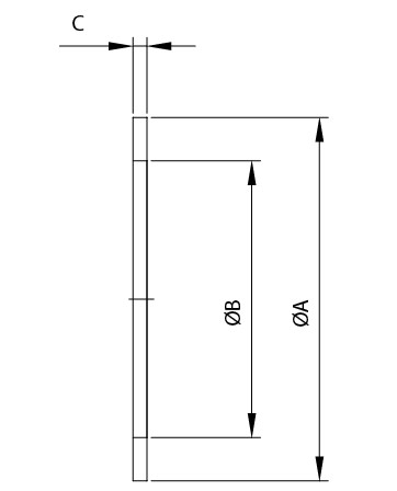
                                          仕様
| Size | A | B | C | Parts No. | 
|---|---|---|---|---|
| CF16 | 21 | 16 | 2 | SCGC-0600 | 
| CF35 | 48 | 37 | 2 | SCGC-1400 | 
| CF63 | 82 | 63 | 2 | SCGC-2400 | 
| CF100 | 120 | 101 | 2 | SCGC-4000 | 
| CF150 | 171 | 152 | 2 | SCGC-6000 | 
| CF200 | 222 | 203 | 2 | SCGC-8000 | 
| CF250 | 272.7 | 254 | 2 | SCGC-A000 | 
ボルトとナットによるCFフランジ接続
 
特徴:
- CFフランジアセンブリは、CFフランジ2つ、平らな銅ガスケット、インサート、ボルト、ナットで構成されています。
- 希望のCFフランジ設計オプションを選択してください:- CFフランジブランクまたはCFボアフランジブランク
- CFタップホールフランジまたは非タップホールフランジ
- CF非回転フランジまたは回転フランジ
 
 
素材とサイズ
- フランジ、ブランク、フィッティング:素材 S.S.304
- ガスケット:素材 銅
- サイズ:CF16〜CF150
 
 
               
                 
                 
              
                             
              
                             
              
                             
              
                             
              
                             
              
                             
              
                             
              
                             
              
                             
              
                             
              
                            


 
                   
                   
                  